در صدم و پنجاهمین سالروز تولد فردیناند پورشه، یکی از اختراعات کمتر شناختهشده او را به یاد میآوریم.
پورشه در دهه ۱۹۳۰ سیستمی برای کنترل کشش به ثبت رساند که دههها جلوتر از زمان خود بود.
میتوان گفت که در دهه ۱۹۳۰، ذهن فردیناند پورشه سخت درگیر مسئله کشش بود. حزب نازی که بر آلمان حکم میراند، میخواست توانایی فنی این کشور را در مسابقات گرندپری به نمایش بگذارد، بنابراین سرمایه هنگفتی را به مرسدس و اتو یونیون تزریق کرد. اتو یونیون مجموعهای از خودروها را بر اساس طراحی پورشه ساخت.
مدلهای تایپ A، B و C قدرتی فراتر از هر آنچه تا آن زمان دیده شده بود داشتند؛ به لطف موتور V16 سوپرشارژ که پشت راننده نصب میشد. نخستین مدل این سری، تایپ A در سال ۱۹۳۳، توان ۲۹۵ اسب بخار داشت؛ یک سال بعد تایپ B در ۱۹۳۴، به ۳۷۵ اسب بخار رسید؛ و تایپ C در ۱۹۳۵، حیرتانگیز ۵۲۰ اسب بخار تولید میکرد.
برای دههها، قدرت موتورهای مسابقهای از توان شاسی و تایرها فراتر بود، و شاید هیچ مثالی بهتر از خودروهای اتو یونیون نباشد. سیریل پُستهومِس در کتاب خودرو ۱۶ سیلندر GP اتو یونیون توصیف میکند که رانندگان در سرعت بیش از ۱۶۰ کیلومتر بر ساعت (و حتی ۲۶۰ کیلومتر بر ساعت در شرایط بارانی) چرخگردانی وحشتناکی را تجربه میکردند.
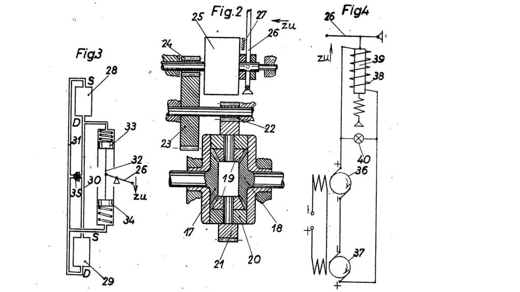
نیازی به گفتن نیست که کشش، مشکل بزرگی بود. پورشه به عنوان یک مهندس، به دنبال راهحل بود. او در ۱۹۳۳ نوعی دیفرانسیل لغزش محدود (LSD) را ثبت اختراع کرد و با همکاری شرکت ZF (که امروزه به خاطر گیربکسهای ۸ سرعته مشهور است) نمونهای ساخت که در تایپ C سال ۱۹۳۵ به کار گرفته شد. حتی نسخهی مسابقات تپهنوردی تایپ C، به علت نبود تایرهای پهن کافی، از چرخهای دوگانه در عقب استفاده میکرد.
این دیفرانسیل مؤثر بود و پس از جنگ جهانی دوم رایج شد. اما پورشه در دهه ۱۹۳۰ روی چیزی کار میکرد که بهطرز شگفتانگیزی جلوتر از زمان خود بود: سیستم کنترل کشش (Traction Control).
پورشه در سال ۱۹۳۷ برای این سیستم، درخواست ثبت اختراع آلمان با شماره DE 695718C داد و در ۱۹۴۰ آن را دریافت کرد. نخستین سیستمهای کنترل کشش در خودروهای تولیدی خیلی دیرتر پدیدار شدند—احتمالاً اولین بار در بیوک ۱۹۷۱ با سیستم Max-Trac—پس پورشه حدود ۳۵ سال جلوتر از زمان خود بود.
در اصل، این سیستم مانند کنترل کشش امروزی در خودروهای محور محرک عمل میکرد: یک دستگاه سرعت چرخهای محرک و غیرمحرک را مقایسه میکرد و در صورت بیشتر بودن سرعت چرخهای محرک، گشتاور موتور کاهش مییافت. سیستم بیوک ۱۹۷۱ و خودروهای پس از آن، این مقایسه را با حسگرهای سرعت چرخ و یک رایانه انجام میدادند.
پورشه سه نسخه از سیستم خود را شرح داد: یکی مبتنی بر دیفرانسیل مکانیکی، دیگری هیدرولیکی، و سومی الکتریکی. همه آنها سرعت محور عقب (محرک) و جلو (غیرمحرک) را مقایسه میکردند. اگر سرعت عقب بیشتر بود، دستگاه مقایسهگر اهرمهایی را به کاربراتور موتور متصل میکرد تا توان کاهش یابد.
حتی نسخهی الکتریکی پورشه، با استفاده از ژنراتور در هر محور کار میکرد. اختلاف ولتاژ ایجادشده باعث فعال شدن اهرم میشد و همزمان چراغی روی داشبورد روشن میکرد تا راننده بداند سیستم فعال است. پس سیستمی الکتریکی، ولی نه الکترونیکی.
امروزه نیز اصل کار همین است: حسگرهای سرعت چرخ دادهها را به کنترلر الکترونیکی میفرستند و موتورهای احتراقی علاوه بر دریچه گاز، از طریق زمانبندی جرقه هم کنترل میشوند. در خودروهای هیبریدی و الکتریکی، موتورهای برقی میتوانند گشتاور را بسیار دقیقتر مدیریت کنند. سیستمهای مدرن همچنین با کنترل پایداری، ترمز، دیفرانسیل یا حتی تعلیق همکاری میکنند.
با این حال، پورشه ایدهی درست را در ۱۹۳۷ مطرح کرده بود.
این اختراع کمتر شناختهشده در کارنامه پورشه باقی مانده است. مشخص نیست آیا او آن را روی خودروی جادهای آزمایش کرده یا خیر. اما با آغاز جنگ جهانی دوم، مسابقات گرندپری متوقف شد و سپس خود پورشه توسط متفقین به زندان افتاد.
او در پروژههای نازیها از جمله خودروی مردم (KdF Wagen) که بعدها به فولکسواگن بیتل بدل شد، و همچنین خودروهای نظامی نقش اساسی داشت. طبق تاریخچه منتشرشده از سوی اداره ثبت اختراعات و علائم تجاری آلمان، پورشه حتی از کارگران اجباری استفاده میکرد، بهطور فعال خواستار آنان بود و از شرایط مرگبارشان کاملاً آگاه بود.
او در سال ۱۹۴۸ تبرئه شد. در همان دوران، پسرش فِری پورشه شرکت پورشه امروزی را در اتریش پایهگذاری کرد و مدل ۳۵۶ را ساخت. فردیناند پورشه در سال ۱۹۵۱ در اشتوتگارت در ۷۵ سالگی درگذشت.
امروز که ۱۵۰مین سالگرد تولد اوست، میراثش همچنان محل بحث است: نبوغ بیچونوچرا و تأثیری که تا امروز ادامه دارد، در کنار همدستی با یکی از رژیمهای جنایتکار تاریخ. در سالروز تولدش باید همزمان به بزرگی فنی و معاملهی فاوستی که با نازیها کرد، توجه داشت.
منبع مقاله:motor1
تیم ترجمه و نگارش دل افکار
